AMD wants to double DDR5 memory bandwidth using clever trick, patent reveals - but this is no SOCAMM rival, and AMD's previous memory project didn't end well
HB-DIMM introduces pseudo channels and buffer chips

- AMD patent reveals new RAM design aimed at doubling DDR5 data bandwidth
- Proposed HB-DIMM approach uses pseudo channels and buffer chips to boost throughput
- AMD’s past memory ventures struggled, raising questions about new patent’s commercial path
AMD has apparently developed a way to push memory performance beyond the current DDR5 limits, according to a newly published patent.
Spotted by Tech4Gamers, the filing concerns, “a high-bandwidth memory module architecture” which could potentially double data rates without changing the underlying DRAM chips.
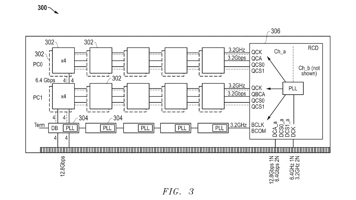
The proposed design achieves up to 12.8Gbps on the memory bus, compared with DDR5’s native 6.4Gbps.
Not AMD's first memory rodeo
It does so through the use of high-bandwidth dual in-line memory modules, or HB-DIMMs, which combine multiple DRAM chips with buffer chips.
These buffers handle data transmission at twice the normal speed, effectively scaling bandwidth with today’s technology rather than requiring an entirely new standard.
The use of pseudo channels and intelligent signal routing to improve throughput are also covered in the patent.
A register clock driver circuit decodes memory commands and uses a chip identifier bit to direct signals to independently addressable channels.
Sign up to the TechRadar Pro newsletter to get all the top news, opinion, features and guidance your business needs to succeed!
This will allow parallel access, and flexible clocking modes to help maintain DDR5 compatibility.
Data transfer would use a non-interleaved format to simplify signal integrity and reduce latency.
AMD argues in the filing DDR5 has struggled to keep up with the bandwidth demands of graphics processors and servers, making an upgrade in module architecture necessary.
In allowing configurations to switch between pseudo-channel and quad-rank modes, it would be possible to tailor the design for high-performance computing, AI workloads, and gaming systems that require faster memory.
This development comes as competitors pursue their own solutions. Nvidia’s earlier SOCAMM 1 project was abandoned after technical problems, with the company now working on SOCAMM 2 as, separately, are Samsung, SK Hynix, and Micron.
While those efforts focus on modular designs and extreme data rates for data centers, AMD’s proposal is positioned as an adaptable improvement for existing DDR5 systems.
This wouldn’t be the first time AMD has entered the memory arena of course. Back in 2012, the company partnered with Patriot Memory and VisionTek to sell branded DDR3 kits, although that venture wasn’t a huge success.
Whether the new patent will result in a commercial product remains to be seen, but it’s another example of the growing pressure on the industry to find ways of moving beyond DDR5’s current roadmap.
You might also like

Wayne Williams is a freelancer writing news for TechRadar Pro. He has been writing about computers, technology, and the web for 30 years. In that time he wrote for most of the UK’s PC magazines, and launched, edited and published a number of them too.
You must confirm your public display name before commenting
Please logout and then login again, you will then be prompted to enter your display name.